Космический корабль «Аполлон» - США - Spaceship Apollo
Космический корабль «Аполлон» создан в США по одноименной программе, предусматривающей высадку американских космонавтов на Луну с последующим возвращением на Землю. Начало работ по этой программе относится к 1959—1960 гг. Летно-конструкторские испытания начались с 1963 г. Было проведено 10 испытаний системы аварийного спасения и других систем космического корабля «Аполлон» при пусках по баллистической траектории, 12 запусков с выходом на орбиту без экипажа и несколько пусков с экипажем, в том числе четыре полета на Луну. Два из них с посадкой на Луне.
Схема полета космического корабля «Аполлон» на Луну выглядит следующим образом.
С помощью трехступенчатой ракеты «Сатурн-V» со стартовым весом 2700 т на околоземную орбиту вначале выводится космический корабль «Аполлон» с экипажем из трех человек и третья ступень носителя с неполностью израсходованным запасом топлива. Дожигание этого топлива на орбите Земли позволяет кораблю выйти на траекторию полета к Луне. Подойдя к Луне, корабль начинает обращаться вокруг Луны. Два из трех членов экипажа переходят в отделяемую лунную кабину, которая совершает посадку на Луну.
Основные данные космического корабля «Аполлон»
| Элементы корабля |
Вес, т |
Габариты, м |
| длина |
диаметр |
| Отсек экипажа |
5.56 |
3.4 |
3.84 |
| Двигательный отсек |
22.8 |
7.6 |
3.91 |
| Лунная кабина |
14.5 |
6.0 |
9.7 (при развернутом шасси) |
| Система аварийного спасения |
3.0 |
7.0 |
1х1.47 (сечение основания рамы) |
| Итого (на старте) |
45.86 |
24.0 |
3.91 |
После проведения космонавтами исследований на Луне кабина взлетает с Луны, выходит на круговую селеноцентрическую орбиту и пристыковывается вновь к основному блоку корабля.
Космонавты из кабины переходят в основной блок, кабина отделяется, а основной блок с помощью бортового двигателя переходит с селеноцентрической орбиты на траекторию полета к Земле. Перед входом в атмосферу Земли от корабля отделяется спускаемый аппарат с космонавтами, который и совершает посадку.
Космический корабль состоит из основного блока и лунной кабины. В свою очередь основной блок состоит из отсека экипажа и двигательного отсека, а лунная кабина — из посадочной и взлетной ступеней.

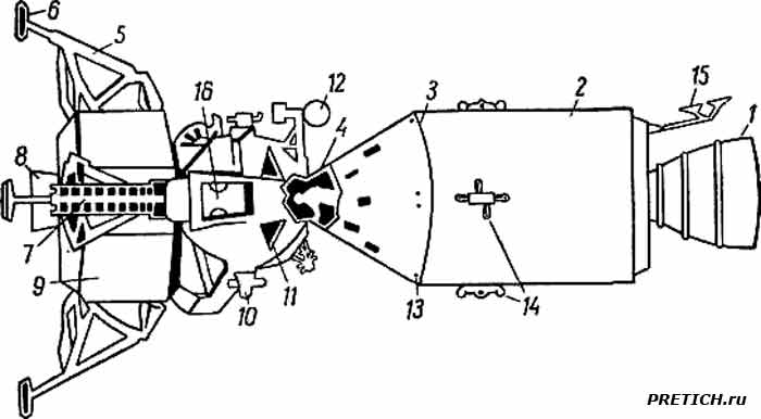
Конструктивно-компоновочная схема космического корабля «Аполлон»
1 — маршевый двигатель; 2 — двигательный отсек; 3 — днище отсека экипажа с теплозащитным экраном; 4 — лаз для перехода из отсека экипажа в лунную кабину; 5 — посадочное шасси лунной кабины; 6 — опора посадочного шасси; 7 — лестница для спуска на поверхность Луны; 8 — двигатель посадочной ступени лунной кабины; 9 — посадочная ступень; 10 — блок двигателей системы ориентации на взлетной ступени лунной кабины; 11 — окна лунной кабины; 12 — остронаправленная поворотная антенна; 13 — двигатели системы ориентации отсека экипажа; 14 — двигатели системы ориентации всего корабля; 15 — остронаправленная антенна; 16 — люк для выхода на поверхность Луны.
Отсек экипажа является основной частью корабля и выполнен в виде конуса с углом раствора 66°. Корпус отсека состоит из верхней, средней и донной секций. Верхняя секция перед развертыванием парашютов сбрасывается. В средней секции, имеющей форму усеченного конуса, сделаны люки для доступа к оборудованию. Верхняя и средняя секции собираются из профилированных панелей толщиной 15.2 мм, соединенных пайкой. Панели сотовой конструкции изготовлены из нержавеющей стали. Толщина обкладочных листов 0.2—1 мм. Листы подвергаются химическому фрезерованию.
Донная секция представляет собой скругленное днище и собирается из сотовых панелей толщиной ~ 50 мм. Эта часть корпуса воспринимает основную тепловую нагрузку, поскольку отсек экипажа входит в атмосферу днищем вперед.
Фланцы для соединения донной и средней секции корпуса также изготовлены из сотовых панелей.
Кабина экипажа, размещенная в отсеке, состоит из верхней и нижней секций, соединенных кольцевой сваркой. Секции выполнены из сотовых алюминиевых панелей толщиной от 19 до 38 мм. Плотность сот составляет 0.07—0.114 г/см3. В кабине на специальных амортизаторах подвешены три кресла для космонавтов. Кресла расположены в ряд. Среднее кресло складывающееся. Сидения кресел могут устанавливаться под различным углом. При выводе на орбиту и при посадке кресла устанавливаются под углом 66°.
Спать космонавты должны по очереди, для чего под левым креслом оборудована специальная подвесная койка.
На левом кресле сидит командир корабля, на среднем — первый пилот, на правом — второй пилот (пилот лунной кабины).

Отсек экипажа космического корабля «Аполлон»
1 — передний входной люк; 2 — передний шлюз; 3 — программный механизм; 4 — двигатели системы управления; 5 — главная приборная доска; 6 — люк для входа экипажа; 7 — амортизатор кресла космонавта; 8 — правая приборная доска; 9 — иллюминатор для наблюдения; 10 — кресла экипажа; 11 — отрывной разъем; 12 — нижняя часть теплозащитного покрытия; 13 — вентилятор; 14 — панели контроля давления; 15 — левая приборная доска; 16 — перегородка передней части отсека; 17 — основной парашют.
Все оборудование отсека экипажа размещено с таким расчетом, чтобы центр тяжести отсека был расположен на определенном расстоянии от продольной оси. В результате этого при входе отсека экипажа в атмосферу создается некоторый угол атаки и возникает подъемная сила. Угол атаки может корректироваться системой ориентации.
Свободный объем в кабине составляет 6.1 м3 (~2 м3 на одного члена экипажа).
Космонавты входят в отсек через быстро открывающийся люк в боковой стенке, а переходят из отсека экипажа в лунную кабину через туннель и люк в верхней части отсека. Люк может быть открыт как изнутри, так и снаружи. Изнутри космонавты могут открыть люк за 2 сек., извне — за ~10 сек. Ручной инструмент для открывания люка хранится в верхней части отсека экипажа.
В кабине имеется шесть иллюминаторов.
Весь отсек экипажа снаружи имеет теплозащитный экран толщиной 63 мм на днище и 8—44 мм на верхней и средней секциях. Основу экрана составляет абляционный материал из фенольно-эпоксидной смолы со стеклянными микробаллонами. Удельный вес материала защитного экрана 0.53 г /см3.
Во время вывода корабля на орбиту отсек экипажа закрыт защитным чехлом из стеклопластика, который после достижения определенной высоты сбрасывается вместе с системой аварийного спасения. Чехол защищает отсек от аэродинамического нагрева и воздействия струй двигателей при включении системы аварийного спасения.
Отсек экипажа с помощью цилиндрического переходника сотовой конструкции соединен с двигательным отсеком. Длина переходника 102 мм.
Двигательный отсек предназначен для размещения маршевого и вспомогательных двигателей, запаса топлива (17.6 т), энергетической установки, а также всего прочего оборудования, которое не требует непосредственного наблюдения космонавтов. Отсек имеет форму цилиндра. Оболочка корпуса сотовой конструкции выполнена из алюминиевого сплава. В стенки корпуса вмонтированы трубки теплообменника, по которым циркулирует водный раствор гликоля. Регулирование температуры наружной поверхности корпуса обеспечивается окраской части поверхности составом с высоким коэффициентом отражения, а части — с низким. Маршевый двигатель (ЖРД), размещенный в отсеке, выдается из отсека на 2.94 м. Его вес 350 кг. Топливосмесь состоит из безводного гидразина с несимметричным диметилгидразином (горючее) и четырехокиси азота (окислитель). Топливо хранится в четырех баках из титанового сплава. Толщина стенок баков 1.77 мм. Наддув баков осуществляется гелием до давления 13 кг/см2.
В основном блоке (в отсеке экипажа и в двигательном отсеке) имеются навигационное оборудование, энергетическая установка на топливных элементах, связное оборудование, система жизнеобеспечения, система парашютов и система аварийного спасения (САС).
Навигационное оборудование состоит из вычислительного устройства, инерциального измерительного блока, блоков согласования вычислительного устройства с измерительным блоком, телескопа и секстанта. Вычислительное устройство имеет вес 26.3 кг и потребную мощность 100 вт. Телескоп с полем обзора 60° и точностью наводки 30". Секстант имеет кратность увеличения 28, поле зрения 1.8° и точность наводки 10". Оборудование размещено у подножия среднего кресла.
В состав навигационного оборудования входит также блок, обеспечивающий возможность ручного управления движения отсеком экипажа при входе в атмосферу и проведение коррекции траектории при полете к Луне и обратно.
Скорость и ускорение при входе в атмосферу даются в виде кривой, нанесенной на майларовую ленту, протягиваемую через окно в корпусе блока. Имеется индикатор крена, и на светящейся шкале указывается расстояние до точки, где должно начаться развертывание парашютной системы.
Энергетическая установка имеет вес 113 кг и обеспечивает среднюю мощность 1.42 кВт (пиковую 2.2 кВт). Время работы до первого отказа около 2000 час.
Связное оборудование состоит из трех унифицированных систем, работающих в сантиметровом, метровом и КВ-диапазонах. Вес оборудования 242 кг. Основной является система, работающая в сантиметровом диапазоне.
На борту корабля устанавливается также переносная телевизионная камера с различными объективами. Вес камеры 3.3 кг. Потребляемая мощность 6.5 Вт.
Система парашютов состоит из двух тормозных, трех вытяжных и трех основных. Диаметр тормозного парашюта 5 м, вытяжного — 3 и основного — 26.8 м. Система обеспечивает скорость приводнения 8 м/сек.

Лунная кабина космического корабля «Аполлон»
1 — поворотная антенна; 2 — окно в потолке кабины космонавтов, используемое для наблюдений во время стыковки взлетной ступени с основным блоком на селеноцентрической орбите; 3 — верхний люк; 4 — антенны метрового диапазона; 5 — взлетная ступень; 6 — направляющий штырь (для обеспечения стыковки); 7 — задний отсек с оборудованием; 8 — блок двигателей системы ориентации; 9 — антенны диапазона С; 10 — источники света, используемые при стыковке; 11 — посадочное шасси; 12 — антенна радиолокатора, обеспечивающего посадку на Луну; 13 — посадочная ступень; 14 — кожух двигателя посадочной ступени; 15 — лестница для спуска на поверхность Луны; 16 — площадка у переднего люка; 17 — передний люк; 18 — антенны диапазона С; 19 — импульсный источник света; 20 — серповидные антенны; 21 — фиксированная антенна; 22 — антенна радиолокатора, обеспечивающего встречу на орбите.

Лунный отсек корабля «Аполлон» - Lunar Module - Spaceship Apollo
+ Щелкните по рисунку, чтобы увеличить!
1 — стыковочный люк; 2 — антенна метрового диапазона волн; 3 — стыковочная мишень; 4 — хвостовая секция взлетной ступени для размещения оборудования; 5 — блок вспомогательных двигателей; 6 — антенна, работающая в диапазоне частот С; 7 — источник света; 8 — посадочное шасси; 9 — тарельчатая пята ноги шасси; 10 — антенна радиолокатора системы управления посадкой; 11 — средняя секция взлетной ступени; 12 — двигатель посадочной ступени; 13 — площадка у переднего люка; 14 — лестница для спуска на поверхность Луны; 15 — передний люк для выхода на поверхность; 16 — треугольное окно для командира корабля; 17 — импульсный источник света; 18 — серповидная антенна приемника метрового диапазона; 19 — фиксированная антенна, работающая в диапазоне частот S; 20 — антенна радиолокатора для встречи на орбите; 11 — герметичная кабина космонавтов; 22 — поворотная антенна, работающая в диапазоне частот S; 23 — инерциальный измерительный блок; 24 — окно в потолке для наблюдения при встрече и стыковке с основным блоком.
Система аварийного спасения (САС), предназначенная для отбрасывания отсека экипажа вверх и в сторону от ракеты-носителя в случае возникновения аварийной ситуации на старте и активном участке (до высоты 80 км), состоит из фермы, основного ракетного твердо-топливного двигателя тягой 70 т (время работы 6 сек.), вспомогательного РДТТ тягой 1.54 т (время работы 0.5 сек.) и РДТТ для отбрасывания фермы САС тягой 15 т (время работы 0.5 сек.). Вес основного РДТТ 2.18 т, вспомогательного — 0.03, РДТТ отделения фермы — 0.25 т. Полный вес САС 3 т.
Лунная кабина космического корабля «Аполлон» предназначена для доставки двух космонавтов с селеноцентрической орбиты на поверхность Луны и с поверхности Луны на селеноцентрическую орбиту. Кабина состоит из посадочной и взлетной частей. Корпус посадочной части изготовлен из листов алюминиевого сплава химическим фрезерованием. Четыре телескопические стойки посадочного шасси имеют разрушающиеся вкладыши из алюминиевых сот. Опоры шасси сотовой конструкции.
Корпус и каркас взлетной части лунной кабины также изготовлены из алюминиевых сплавов. В ней установлена цилиндрическая кабина экипажа объемом 5.38 м3. Атмосфера состоит из чистого кислорода под давлением 0.35 кг/см2. Космонавты в кабине находятся в подвесной системе, включающей пояс на бедрах космонавта и трос, перекинутый через блок. На полу кабины настелен мат из специального материала, чтобы ноги космонавтов не скользили. Имеются поручни и подлокотники. Кабина экипажа имеет три иллюминатора: два — в боковой стенке и один в верхней.

Средства для демпфирования ударных нагрузок при посадке корабля «Аполлон» на сушу
1 — выступы из разрушающегося материала; 2 — амортизаторы на креслах космонавтов; 3 — места крепления строп парашютов.
Система жизнеобеспечения лунной кабины разомкнутого типа. Вес системы 103 кг (без запасов питьевой воды), потребляемая мощность 251 Вт. Кислород хранится в баллонах. Запас воды может быть взят в количестве до 182 л. Для обеспечения жизнедеятельности космонавтов при выходе на поверхность Луны имеется ранцевая система жизнеобеспечения. Рассчитана, она на 3 часа нормальной и 1 час аварийной работы.
Система наведения и навигации лунной кабины состоит из цифрового вычислительного устройства, пульта ввода данных и получения информации, инерциального измерительного блока, телескопа, радиолокаторов посадки и встречи па орбите, приемоответчика и пяти блоков согласования данных. Вес радиолокатора встречи 32 кг, потребляемая мощность 110 Вт, дальность действия от 25 м до 740 км. Радиолокатор встречи и вся система управления полетом могут работать как в автоматическом режиме, так и в режиме ручного управления движением лунной кабины. Имеется аварийная система наведения, включающая цифровое вычислительное устройство, пульт ввода данных и съема информации и инерциального измерительного блока без гироплатформы.
В качестве источников питания используются серебряно-цинковые химические батареи общим весом 63.5 кг в посадочной части кабины и 59 кг во взлетной части.
Связное оборудование состоит из унифицированной системы сантиметрового диапазона и системы КВ-диапазона. Ранцевая система имеет самостоятельное связное оборудование из двух комплектов, состоящих из двух АМ-передатчиков, двух АМ-приемников, одного ЧМ-передатчика и одного ЧМ-приемника. Связь космонавтов на Луне с космонавтом на селеноцентрической орбите осуществляется через наземные станции.
Лунная кабина имеет два ЖРД: один для посадки на Луну (с регулируемой тягой в диапазоне 476—760 кг) и второй для взлета с Луны и обеспечения встречи с основным блоком корабля на селеноцентрической орбите. Для проведения научных исследований на Луне в лунной кабине имеются приборы, общим весом 95 кг, включающие: а) научные приборы типа сейсмометров, геофонов, магнитометров, спектрометров и пр.; б) оборудование для геологических исследований; в) телеметрическую систему; г) радиоизотопную энергетическую установку.
В отсеке оборудования, находящемся между третьей ступенью ракеты-носителя и кораблем «Аполлон», размещается оборудование системы наведения, управления полетом, траекторных измерений, телеметрии, обнаружения неисправностей, предстартовой проверки, электропитания и охлаждения.
Компоновочная схема ракеты-носителя «Сатурн» с космическим кораблем «Аполлон»
СЛЕВА: Компоновочная схема ракеты-носителя «Сатурн» с космическим кораблем «Аполлон»
А — первая ступень ракеты-носителя; Б — переходник между первой и второй ступенями; В — вторая ступень; Г — переходник между второй и третьей ступенями; Д — третья ступень; Е — отсек оборудования; Ж — лунная кабина космического корабля «Аполлон»; 3 — двигательный отсек; И — корабль «Аполлон»; К — система аварийного спасения; Л — отсек экипажа; М — переходник между ракетой-носителем и основным блоком корабля «Аполлон».
|

|

Пульты управления в отсеке экипажа и лунной кабине космического корабля «Аполлон»
а — главная панель пульта управления в отсеке экипажа: 1 — альтиметр; 2 — переключатели индикатора ориентации и индикатор ускорений относительно продольной оси; 3 — индикаторы параметров двигателей ракеты-носителя и бортовых двигателей корабля; 4 — индикатор ориентации; 5 — световые индикаторы состояния ракеты-носителя; 6 — приборы системы ориентации; 7 — индикаторы давления; 8 — переключатели различных бортовых систем; 9 — переключатели антенн метрового диапазона; 10, 11 — световые индикаторы различного назначения; 12 — индикаторы системы вспомогательных двигателей; 13 — переключатели радиотехнического оборудования; 14 — световое табло и кнопки управления вычислительным устройством; 15 — различные индикационные системы.
б — пульт управления в лунной кабине: 1 — панель переключателей различных бортовых систем у рабочего места командира корабля; 2 — панель переключателей системы электропитания и регуляторов радиотелефонной связи; 3 — панель переключателей пиротехнических устройств, радиолокаторов и аварийной системы наведения; 4 — панель переключателей источников света; 5 — главная приборная панель системы наведения и навигации; 6 — панель переключателей источников питания, системы ориентации и стабилизации, системы кондиционирования в хранилищах криогенной жидкости; 7 — центральная панель командира корабля; 8 — центральная панель пилота лунной кабины; 9 — панель переключателей источников света (у рабочего места пилота лунной кабины); 10 — панель переключателей различных бортовых систем; 11 — панель переключателей системы распределения электроэнергии; 12 — панель переключателей радиотехнической системы.
|
А.И.Меньшов
"Космическая эргономика"
"Наука" (Ленинградское отделение)©1971
Далее дополнительное описание Сатурн-5, и всей программы "Аполлон"...
PRETICH.ru
***
|
on December 20 2024 09:13:36