ЯДЕРНЫЕ РАКЕТНЫЕ ДВИГАТЕЛИ
Научно-исследовательские работы в области космических ракетных двигателей (в последующие годы) будут ориентированы в основном на создание ядерного ракетного двигателя (ЯРД), использующего энергию реакции деления. Будут созданы и найдут широкое применение в освоении космоса ЯРД с твердофазной активной зоной, имеющие удельную тягу ~1000 сек. Опыт осуществления таких программ и разработки химических ракетных двигателей, работающих при высоких давлениях в камере сгорания, будет служить основой для создания ЯРД с газофазной активной зоной, обладающих удельной тягой 2000—5000 сек при работе в космических условиях.
Возможны два взаимосвязанных типа ЯРД с газофазной активной зоной. В проекте двигателя с удержанием ядерного горючего предполагается применение вихревой закрутки или коаксиальных потоков для разделения газообразного ядерного горючего и рабочего тела во избежание смешения двух газов. В более перспективном проекте ЯРД с прозрачной ампулой также используются газодинамические силы для отделения газообразного ядерного горючего от стенок реактора, но в этом случае обеспечивается абсолютное разделение ядерного горючего и рабочего тела с помощью прозрачной ампулы. Первый проект более прост, однако он не найдет широкого применения ввиду опасности радиоактивного загрязнения атмосферы. С другой стороны, реализация второго проекта потребует дополнительных исследовательских работ в области прозрачных материалов, однако такой ЯРД будет пригоден как для полетов в космосе, так и в земной атмосфере. Электростатические (ионные) ракетные двигатели с ядерным реактором в качестве источника энергии достигнут высокой степени совершенства, что позволит широко использовать эти двигатели при освоении дальнего космоса. Что касается импульсных ядерных двигателей (двигатели, в которых используется энергия взрыва ядерных устройств), то хотя с технической точки зрения они могут быть созданы раньше газофазных и иметь более высокую удельную тягу, их разработка вряд ли получит поддержку ввиду возможной опасности загрязнения продуктами распада атмосферы и экзосферы. Когда эта проблема будет решена, газофазный двигатель станет столь совершенным, что отпадет потребность в какой-либо другой системе.
ТЕРМОЯДЕРНЫЕ РАКЕТНЫЕ ДВИГАТЕЛИ Программы близкого будущего будут включать разработку термоядерных ракетных двигателей с газофазной активной зоной (прямого и непрямого действия), но в ограниченных масштабах. Такие системы, как средства космического транспорта, не обладают большими преимуществами по сравнению с ЯРД с газофазной активной зоной. Тем не менее в соответствии с требованиями научного исследования дальнего космоса будут оправданы дальнейшие разработки в этом направлении, особенно ионных ракетных двигателей с использованием энергии термоядерной реакции, в которых новые сверхпроводящие магнетики будут преобразовывать энергию магнитогидродинамическим способом при удельном весе конструкции, приближающемся к 0,45 кг/квт.
ФОТОННЫЕ РАКЕТНЫЕ ДВИГАТЕЛИ Разработка фотонных ракетных двигателей для межзвездных полетов станет очередной задачей научных исследований. Первые подобные фотонные ракетные системы с газовым лазером и ядерным реактором дело очень близкого будущего. В окончательном виде фотонный ракетный двигатель будет реализован лишь после того, как будет создан мощный источник энергии с использованием аннигиляции материи.
Космические транспортные системы
Создание одноступенчатого космического корабля с газофазным ЯРД для полетов в глубины космоса ознаменует рождение космических транспортных систем.

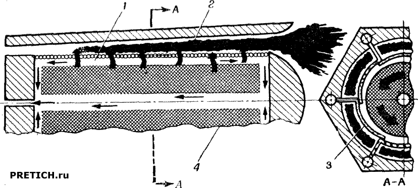
Рис 1. ЯРД с прозрачной ампулой. 1 — бак; 2 — насос; 3 — турбина; 4 — полость реактора; 5 — замедлитель-отражатель.
Такой космический корабль будет полностью приспособлен для выполнения коммерческих операций в будущем и станет транспортным средством для состоятельных туристов, умеренно финансируемых научных работников и исследователей, а также будет выполнять текущие задачи при выполнении важных национальных программ, включающие создание космических станций и околопланетных форпостов. Космические двигательные системы будут обладать такой же надежностью, как и современные реактивные двигатели в авиатранспорте.
Вследствие преимуществ одноступенчатого космического корабля, стартующего с Земли, наиболее перспективным вариантом ЯРД с газофазной активной зоной является двигатель с прозрачной ампулой. Как показано на рис 1, основной двигатель имеет несколько параллельных газофазных ядерных реакторов-полостей, заключенных в оболочку, работающую под высоким давлением. Жидкий водород нагнетается через замедлитель-отражатель и сопло, обеспечивая регенеративное охлаждение, и нагревается в полостях до очень высокой температуры за счет теплообмена излучением. После этого горячий водород расширяется в сопле и, истекая, создает тягу. Мощный насос, подающий под давлением жидкий водород, приводится в действие турбиной, работающей на водороде, который поступает из системы реферативного охлаждения двигателя.

Рис 2. Геометрия единичной полости ЯРД с прозрачной ампулой.
1 — охладитель (гелий или неон); 2 — рабочее тело — водород Т = 4400 — 22 000° К; 1уд = 1100 —5000 сек; 3 — прозрачная стенка; 4 — газообразное ядерное горючее, Т = 5500-27 500° К.
На рис 2 схематически показана единичная полость ЯРД с прозрачной ампулой, в которой за счет вихревого движения потока образуется стабильное ядро из делящегося вещества. Вихревой поток создается тангенциальным впрыском оптически прозрачного охладителя, как указано на схеме. Реакция деления газообразного ядерного горючего повышает его температуру до нескольких тысяч градусов; температура на внешней границе зоны удержания горючего достигает 5500— 27 500° К. Энергия из этой зоны передается главным образом тепловым излучением, которое проходит через прозрачную стенку, и поглощается газообразным рабочим телом — водородом, поглощательную способность которого увеличивают путем ввода небольшого количества вещества-присадки. Благодаря поглощению энергии теплового излучения средняя температура рабочего тела повышается до величины, составляющей ~80% от температуры на внешней границе зоны удержания горючего (4400—22 000° К). При расширении водорода с такой температурой в сопле удельная тяга составляет от 1100 до 5000 сек.
Двухслойная прозрачная стенка поглощает менее 1% энергии излучения, испускаемой ядерным горючим, которая затем уносится охладителем ампулы (например, гелием). Охлаждающий газ после ввода в полость служит буферной зоной для поглощения осколков деления, а также обеспечивает вращение ядра, образованного горючим. Для предотвращения конденсации горючего на стенке и для уменьшения ее нагрева за счет теплопроводности, конвекции и осколками деления необходимо отделить газообразное ядерное горючее от прозрачной стенки. Часть ядерного горючего и продуктов деления захватывается буферным газом, а затем отделяется от охлаждающего газа в регенеративно охлаждаемой системе рециркуляции, что позволяет осуществлять повторный впрыск горючего и охладителя в полость.
Согласно аналитическим оценкам, первый ЯРД с прозрачной ампулой будет иметь регенеративное охлаждение. Его удельная тяга будет равна 1500—2000 сек. Дальнейшее повышение удельной тяги двигателя будет связано с применением высокотемпературных космических излучателей для отвода энергии нейтронного и гамма-излучения, накопленной в стенках замедлителя. Такой вариант двигателя будет иметь удельную тягу в вакууме до 5000 сек при приемлемых значениях отношений тяги к весу двигателя.
Ввиду того что ЯРД с прозрачной ампулой обеспечивает надежное удержание ядерного горючего и продуктов деления при отношении тяги к весу, существенно большем единицы, его можно будет применять для выполнения задач вывода на орбиту одноступенчатого космического корабля, стартующего с Земли и ускоряющегося в пределах земной атмосферы.
Курт В.А. (Wesley A. Kuhrt), США
PRETICH.ru
*** |
on May 23 2015 03:15:11