ЗВЕЗДНЫЕ ШАГИ ЧЕЛОВЕЧЕСТВА
Союз-Аполлон
И снова старт. Та же, ставшая уже привычной последовательность событий. Заседание Государственной комиссии, на котором утверждается экипаж. Митинг на стартовой площадке, рапорт космонавтов перед отлетом и последние минуты ожидания. И наконец, томительно долгие 520 секунд — время, за которое ракета выводит очередной «Союз» на орбиту.
Нет, к этому нельзя привыкнуть. Сколько бы ни было этих запусков, начиная со ставшего уже легендарным полета Юрия Гагарина и до «рабочих» стартов сегодняшних орбитальных лабораторий, — каждое проникновение человека в космос остается важнейшим событием дня.
Кажется, совсем недавно в соответствии с советской программой подготовки к экспериментальному совместному полету космических кораблей «Союз» и «Аполлон» на пилотируемом корабле «Союз-16» стартовали космонавты А. Филипченко и Н. Рукавишников. Испытания, проведенные ими, по праву названные генеральной репетицией, показали: к эксперименту у нес все готово. Все новинки, внесенные в корабль конструкторами, работали безотказно. Успешно прошла имитация предстоящей стыковки.
Исследования космоса продолжаются. Уже в конце декабря на околоземную орбиту вышла новая научная станция «Салют-4». А 11 января е космодрома Байконур стартовал космический корабль — новый, семнадцатый «Союз». Его пилотировали командир подполковник А. Губарев и бортинженер Г. Гречко. Обширная программа экспериментов, входивших в задачу экипажа, тоже была с успехом выполнена.
Их будет еще много — новых полетов в космос, Еще не один новый пилотируемый корабль выведут за пределы земного притяжения советские люди. И каждый такой запуск будет знаменовать новый звездный шаг человечества, новый этап в познании тайн природы.
По просьбе участников всесоюзного конкурса «Космос» мы публикуем в этом номере чертежи модели состыкованных космических кораблей «Союз» и «Аполлон», разработанные мастером спорта В. РОЖКОВЫМ.
НА ОРБИТЕ «СОЮЗ» — «АПОЛЛОН»
Что же представляют собой участвующие в эксперименте космические корабли и стыковочный агрегат? До сих пор в СССР и США использовались разные системы сближения и стыковки космических кораблей. Это была первая проблема, которую предстояло решить ученым. Остановились на принципе периферийной конструкции стыковочного устройства андрогинного типа. Такая конструкция отличается от предыдущих тем, что вместо центрального штыря (у активного стыковочного устройства) и приемного конуса (у пассивного) каждый корабль будет иметь расположенные по периферии стыковочного узла направляющие лепестки, стягивающие устройства и замки; в центральной части люки, через которые будет осуществляться переход космонавтов.
Вторая проблема, которая встала перед учеными и конструкторами и была успешно решена ими, — это разная (как по химическому составу, так и по атмосферному давлению) атмосфера «Союза» и «Аполлона».
В жилых отсеках «Союза» (спускаемом аппарате и орбитальном) атмосфера состоит из обычного воздуха при давлении 660—860 мм рт. ст. Атмосфера космического корабля «Аполлон» — чистый кислород при давлении 260 мм рт. ст. Поэтому для перехода космонавтов из корабля в корабль требуется специальный отсек, выполняющий роль шлюзовой камеры для адаптации.
При переходе из «Аполлона» в «Союз» космонавтам придется пробыть в шлюзовой камере 25 минут. При переходе же из «Союза» в «Аполлон» космонавты в скафандрах должны находиться в отсеке почти два с половиной часа при постепенном понижении давления до 260 мм рт. ст. Это нужно для выведения азота из организма и предотвращения кессонной болезни.
Чтобы сократить время на десатурацию при переходе космонавтов из корабля в корабль, общее давление в «Союзе» снижено до 490—550 мм рт. ст. Микроклимат с такими параметрами в жилых отсеках впервые был испытан при полете космического корабля «Союз-16».
Как будет происходить стыковка? Корабль «Союз» управляется при помощи системы ориентации и управления движением. В нее входят ионные датчики на «разгон» и «торможение» и комплекс исполнительных органов. Двигатели размещены на приборно-агрегатном отсеке. На верхнем шпангоуте орбитального отсека установлен узел стыковки андрогинного типа. Шлюзовую камеру «несет на себе» космический корабль «Аполлон». Первым стартует с космодрома Байконур советский космический корабль «Союз». Через семь с половиной часов примет старт «Аполлон».
Около суток корабли будут совершать самостоятельный полет, затем произойдет их сближение и стыковка. В состыкованном положении корабли образуют пилотируемую космическую систему. Такой полет будет продолжаться двое суток.
После стыковки два американских астронавта перейдут через стыковочный отсек в «Союз» и принесут телевизионную камеру для передачи изображения на Землю. Через два с половиной часа они вернутся обратно в «Аполлон». На следующие сутки в «Аполлон» перейдет советский космонавт. Согласно принятым правилам один советский и один американский космонавт постоянно будут находиться у пультов управления своих кораблей. Затем произойдет расстыковка космических кораблей и каждый из них будет продолжать полет по самостоятельной программе.
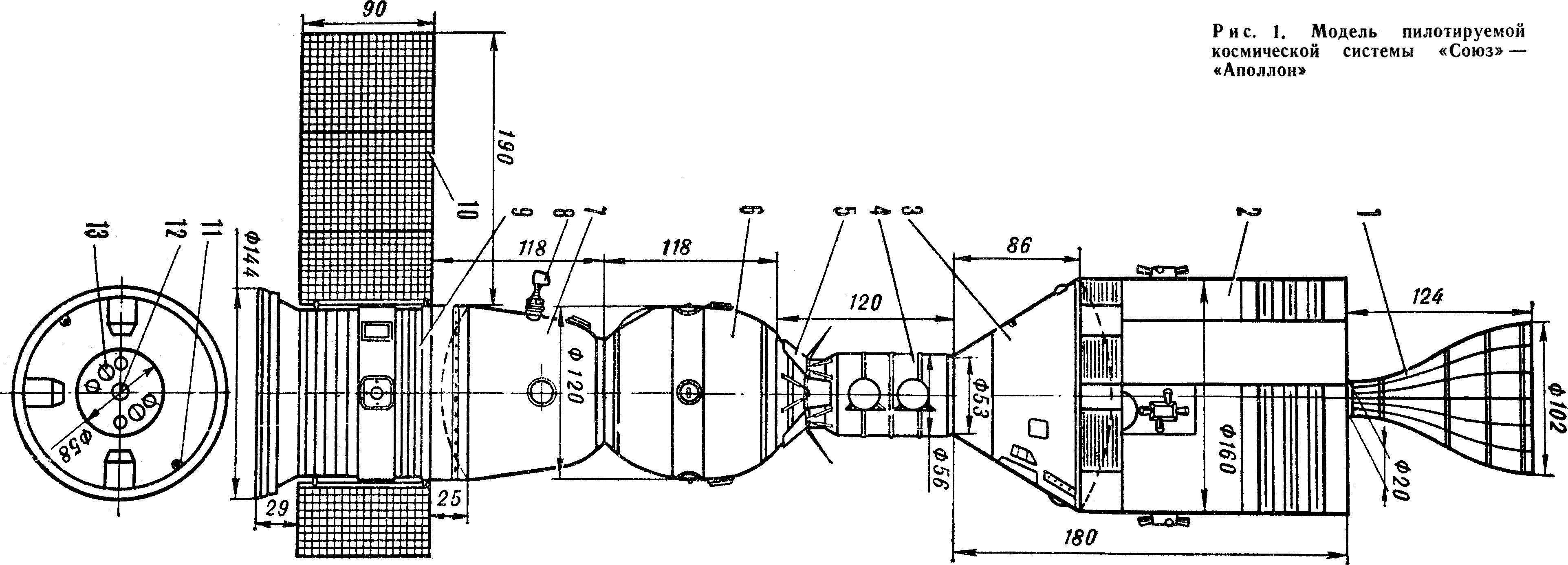
Прежде чем приступить к изготовлению моделей «Союза» и «Аполлона», необходимо сделать оправки. Их можно выточить на токарном станке из любого материала (древесины, пластмассы). Все размеры для оправок, указанные на рисунке 1, следует уменьшить на 1,5 мм (по толщине бумаги, из которой будут выклеиваться корпуса).
Модель космического корабля «Аполлон» сделайте из пяти слоев чертежной бумаги, склеенной столярным клеем. Наружные детали и двигатели управления — из древесины. Сопло маршевого двигателя надо выточить из дюралюминия и приклеить к дну на смоле ЭД-5. Шлюзовая камера — также из бумаги, наружные кольца — из картона, шары деревянные. Для изготовления стыковочного узла (см. рис. 2) применены фанера толщиной 1,5 мм и тонкие сосновые рейки 3X2 мм и проволока Ø1 мм для изготовления шарниров.
Орбитальный отсек и спускаемый аппарат модели «Союза» выклейте по способу «папье-маше» на оправке; после просушки разрежьте на две части вдоль и снова склейте изнутри. Приборно-агрегатный отсек склейте из бумаги. Панели солнечных батарей выпилите из фанеры и окрасьте в черный цвет, разметив чертилкой квадратики элементов. Крепятся панели в двух местах к приборно-агрегатному отсеку. Иллюминаторы спускаемого аппарата и орбитального отсека изготовлены из оргстекла толщиной 1,5 мм. Вся модель покрыта пятью слоями нитроклея АК-20, после чего покрашена, как показано на вкладке.
Для тех, кто захочет оформить интерьер орбитального отсека и спускаемого аппарата, на рисунках 3 и 4 показаны расположение и относительные размеры основных деталей, узлов и агрегатов.
В. РОЖКОВ, мастер спорта СССР

+ Щелкните по рисунку, чтобы увеличить!
Рис. 1. Модель пилотируемой космической системы «Союз» — «Аполлон»: 1 — сопло, 2 — агрегатный отсек «Аполлона», 3 — спускаемый аппарат, 4 — шлюзовая камера, 5 — андрогинный стыковочный узел, 6 — орбитальный отсек «Союза», 7 — спускаемый аппарат, 8 — оптический визир-ориентатор, 9 — приборно-агрегатный отсек, 10 — панели солнечной батареи, 11 — датчик на торможение, 12 — сближающе-корректирующий (основной) двигатель, 13 — дублирующий корректирующий двигатель, 14 — рулевые сопла.

+ Щелкните по рисунку, чтобы увеличить!
Рис. 2. Андрогинный стыковочный узел: 1 — замок на корпусе корабля, 2 — направляющая на боковой грани лепестка, 3 — торцовое кольцо с восемью замками, 4 — силовые цилиндры для выдвижения вперед направляющего кольца (5) и стягивания кораблей, 6 — замок на лепестке.

+ Щелкните по рисунку, чтобы увеличить!
Рис. 3. Спускаемый аппарат: 1 — визир-ориентатор, 2 — приборная доска, 3 — телекамера, 4 — командно-сигнальное устройство (КСУ), 5 — люк-лаз, 6 — штурвал люка-лаза, 7 — пульт, 8 — иллюминатор, 9 — кресло, 10 — ручка управления.

+ Щелкните по рисунку, чтобы увеличить!
Рис. 4. Орбитальный отсек: левый борт: 1 — стыковочный агрегат, 2 — блок управления системой стыковки, 3 — рукоятка, 4 — направляющий выступ, 5, 10 — телекамеры, 6 — вентилятор, 7 — пульт орбитального отсека, 8 — стол, 9 — кинокамера; правый борт: 11 — газоанализатор, 12 — крышка люка, 13 — рукоятка, 14 — сиденье, 15 — иллюминатор, 16 — скафандры.
Источник: "Моделист-Конструктор" 1975, №4
* |